Описание
Характеристики
Отзывы
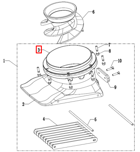
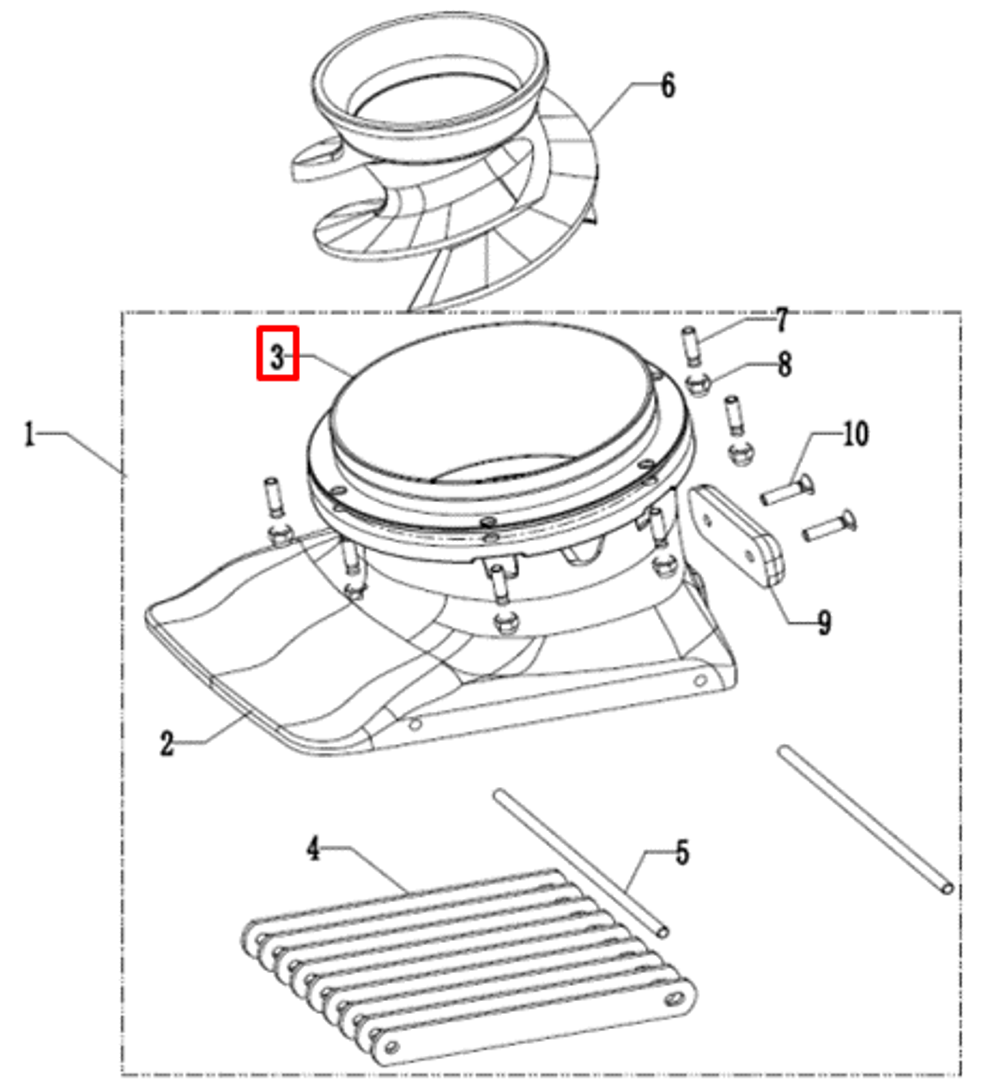
Описание
Обечайка алюминиевая средняя серия 30 л.с.
- Совместима с импеллерами средней серии:
1678
8.21
- Флянец: есть
Характеристики
Производитель
PREMARINE
Вес, кг
1.82 кг
GTIN
2000000225722
Артикул
32200-622320
Отзывы
Отзывов еще никто не оставлял
