Описание
Характеристики
Отзывы
Описание
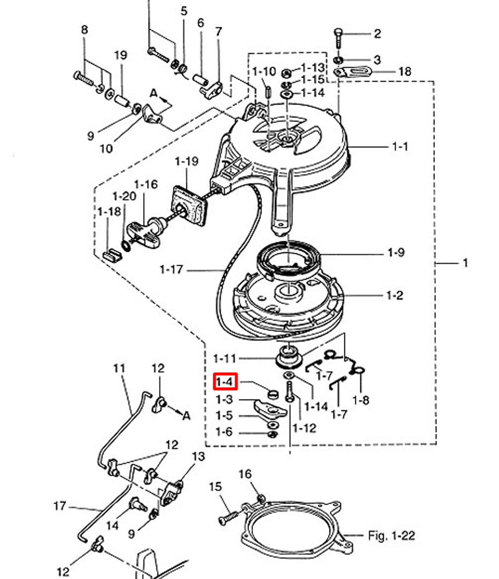
Наименование: Втулка ручного стартера медная Tohatsu 9.9-30, M40C/Mercury 9.9-30.
Для моторов: Tohatsu 9.9-30, M40C/Mercury 9.9-30.
OEM номер: 345-05135-1; 345051351; 8537432.
Производитель: PREMARINE.
Характеристики
Производитель
PREMARINE
Длина
6.0000
Высота
0.6000
Вес, кг
0.001 кг
GTIN
2000000236193
Артикул
345-05135-1-K
Ширина
4.0000
Отзывы
Отзывов еще никто не оставлял
