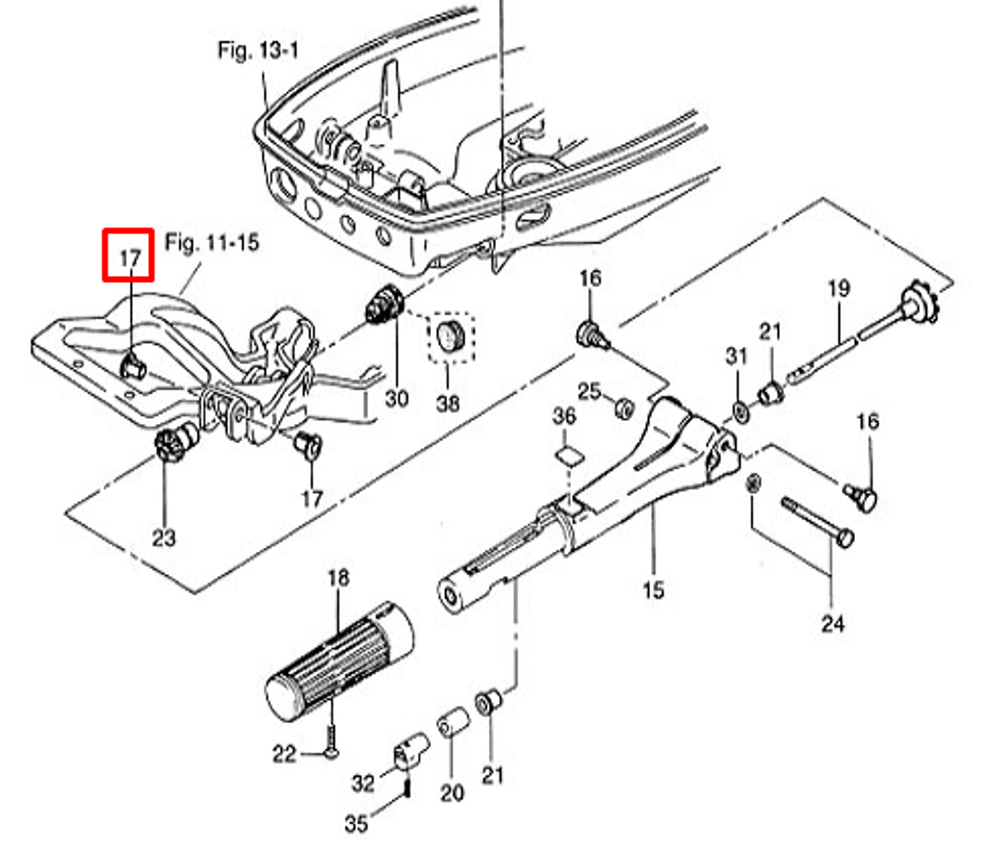
Описание
Характеристики
Отзывы
Описание
_
Характеристики
Производитель
PREMARINE
GTIN
2000000187365
Артикул
345-63207-0-K (20F-04.00.00.03)
Отзывы
Отзывов еще никто не оставлял
